MB/8 Club Poland - Klub i forum miłośników samochodów Mercedes-Benz

Forum dyskusyjne klubu właścicieli i miłośników samochodów marki Mercedes-Benz
Dzisiaj jest wt lut 17, 2026 10:35 pm

Strefa czasowa UTC+01:00




Nowy temat  Odpowiedz w temacie  [ Posty: 42 ]  Przejdź na stronę Poprzednia 1 2 3 Następna
Autor Wiadomość
Post: pt lut 04, 2011 5:44 pm 
Offline
wiarus junior
Awatar użytkownika

Rejestracja: wt mar 06, 2007 9:10 pm
Posty: 927
Lokalizacja: Poznań
Jeśli pytasz o LPG do Seca , to odradzam. Zaznaczę również, iż nie jestem przeciwnikiem LPG ( moje W123 i W116 na gaźniku śmigało bezproblemowo)

Natomiast idzie zestroić 1 generację LPG , tak aby nie strzelała ( ciężko... zawsze jest ten 1 % niepewności)
Mikser trzeba umieścić nie nad klapą spiętrzającą, tylko przy 1 przepustnicy ( ciężki dostęp) Bodajże forumowy kolega Janfocus coś takiego uskutecznił.

Miałem LPG w swoim i ogólnie idzie jeździć, ale wyregulować tak aby nie było spadku mocy i idealnie chodził na wolnych raczej się nie da.

Spalanie :
Na trasie udało mi się zejść do 14,5l/100 km .
Cykl mieszany 70%trasa /30% miasto spalanie ok.18l
Miasto ( nigdy dokłądnie nie mierzyłem, ale myślę że 21-25l)
Na LPG spokojnie wyciągał 200km/godz.

Ogólnie LPG w Sec'u to trochę kalectwo, ale rozumiem Cię, bo od kiedy wywaliłem LPG to prawie tym autem nie jeżdżę.

K-Jetronik , KE- Jetronik + LPG = Problemy

Już chyba bym wolał Seca z jakimś rzędowym Dieslem pod maską, niż z niepewnym gazem...

_________________
Witek
W126 500SEC '83 - ex. R.I.P.
Buk, humor, dziczyzna


Na górę
Post: pt lut 04, 2011 7:31 pm 
Offline
wiarus junior

Rejestracja: pn lut 25, 2008 6:46 pm
Posty: 857
Lokalizacja: Dąbrowa Górnicza-Chruszczobród
witek-sec napisał...Mikser trzeba umieścić nie nad klapą spiętrzającą, tylko przy 1 przepustnicy :o [totalszok] [totalszok] prawdę powiedziawszy pierwszy raz o takim /cudzie-rozwiązaniu ! / słyszę [totalszok]

_________________
MB 124 300 24V CE-1991 EX
MB 126 560 SEL- 1988-LPG
AUDI A3 1.6-----1997-PB
DAEWO TICO----1997-LPG
MB 126 420 SE-- 1988 EX
IVECO 3510-----1995 EX
MB 124 300 E ---1989 EX
MB 201 230 E ---1987 EX
AUDI 80 1,8E----1989 EX
SEICENTO 900---2002 - LPG


Na górę
Post: pt lut 04, 2011 8:22 pm 
Offline
kombatant
Awatar użytkownika

Rejestracja: czw sty 13, 2005 8:56 am
Posty: 4306
Lokalizacja: Zurich, Debica
czarek12 pisze:
witek-sec napisał...Mikser trzeba umieścić nie nad klapą spiętrzającą, tylko przy 1 przepustnicy :o [totalszok] [totalszok] prawdę powiedziawszy pierwszy raz o takim /cudzie-rozwiązaniu ! / słyszę [totalszok]


Poszukaj na forum

I jeszcze kompensacja parownika

_________________
TReneR

W124 230E '87
Drink Beer!


Ostatnio zmieniony sob lut 05, 2011 11:01 am przez TReneR, łącznie zmieniany 1 raz.

Na górę
Post: pt lut 04, 2011 9:13 pm 
Offline
wiarus junior
Awatar użytkownika

Rejestracja: wt mar 06, 2007 9:10 pm
Posty: 927
Lokalizacja: Poznań
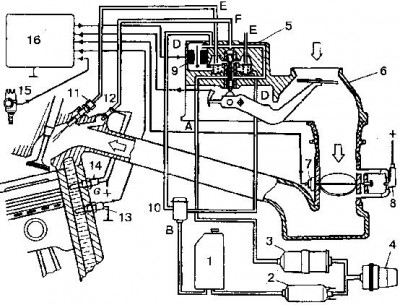
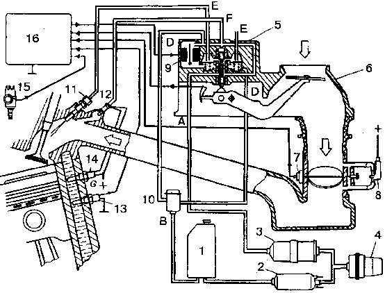
Załącznik:
pic26.JPG
pic26.JPG [ 64.01 KiB | Przejrzano 1309 razy ]


W dużym skrócie:
Mikser powinien być przy przepustnicy ( nr 7)
a w większości przypadków jest montowany nad klapą spiętrzającą ( nr 6), co dość skutecznie zaburza pracę całego systemu ( w tym też pracę ASB) oraz między innymi powoduje wybuchy ( zwiększona objętość LPG w układzie dolotowym).

Kompensacja również wskazana, jak zauważył kolega Trener.

_________________
Witek
W126 500SEC '83 - ex. R.I.P.
Buk, humor, dziczyzna


Na górę
Post: sob lut 05, 2011 10:31 am 
Offline
weteran
Awatar użytkownika

Rejestracja: ndz lis 26, 2006 12:19 am
Posty: 2399
Lokalizacja: [EL] Łódź
witek-sec pisze:
Mikser powinien być przy przepustnicy ( nr 7)

Warto dodać że jeżeli między klapą spiętrzającą a przepustnicą jest jakaś "odnoga" to mikser MUSI być powyżej tej odnogi. Jednym słowem całe powietrze zasysane przez silnik musi przepływać przez mikser...

W M102 jest właśnie taki "bypass" prowadzący do zaworu powietrza dodatkowego i dalej bezpośrednio do kolektora (z pominięciem przepustnicy)...

_________________
http://www.malusie.pl - bodziaki dla niemowląt i koszulki dla dzieciaków
Jeep Grand Cherokee 5.2 '96

ex: W123 D30 '83, W126 E28 '83, S123 E23 '85, W201 E23 '92


Na górę
Post: sob lut 05, 2011 11:04 am 
Offline
kombatant
Awatar użytkownika

Rejestracja: czw sty 13, 2005 8:56 am
Posty: 4306
Lokalizacja: Zurich, Debica
No, bypass wychodzi z "kalosza", wiec silnik gasł by na wolnych obrotach.

_________________
TReneR

W124 230E '87
Drink Beer!


Na górę
Post: ndz lut 06, 2011 1:16 pm 
Offline
kombatant
Awatar użytkownika

Rejestracja: śr paź 29, 2003 7:31 pm
Posty: 3225
Lokalizacja: Kraków
witek-sec pisze:
K-Jetronik , KE- Jetronik + LPG = Problemy


Ja mialem i jakbym jezdzil nim na codzień to dalej bym miał. Nie nazwałbym tego problemami, największymi wadami było:
  • U mnie w pierwszej generacji na LPG przelaczal sie od obrotów jakich konkretynch niezaleznie od temp.. Prowadzilo to do tego, że wsiadąłem pod uczelnia do zimnego auta na mrozie, odpalalem na benzynie, i albo czekalem 5-10 min na nagrzanie (akurat, jak czlowiek glodny i na obiad chce ;-) ), albo przegazówka i jedziemy do domu
  • 2 wada i to gigantyczna, to zasieg na butli. Temat nie do przejscia, pol bagaznika nie masz a tankowac musisz co 2-3 dni. jeżdżąc po mieście.

_________________
pozdrawiam Andrzej
Mercedes Benz 450 SLC - było
MGB 1965
GMail: anwojcik (at) gmail.com


Na górę
Post: śr lut 09, 2011 9:55 am 
Offline
swój chłop
Awatar użytkownika

Rejestracja: czw kwie 03, 2008 8:34 am
Posty: 181
Lokalizacja: 3citi
Ja mam u siebie BRC II gen, mikser nad klapą spiętrzającą. Jedyny problem to faktycznie regulacja - jest bardzo czasochłonna i nie jest łatwo dobrze wyregulowac. Prawie zawsze jest problem z ustawieniem mocy max - czyli przy bucie w podłodze niestety, ale od czego jest benzyna [zlosnikhihi] . Na trasie udało mi się zejśc do 12l, natomiast średnie spalenie mam na poziomie 16-18l/100km.
Dodam, że przejechałem już ok 40kkm na LPG i jest ok. Trzeba pilnowac stanu układu zapłonowego, nie oszczędzac na wymianie świec (co 10-15kkm, najlepiej z olejem), pilnowac stanu przewodów, itd...
Reduktor oczywiście OMLV r90 cos tam z dwoma wyjsciami (do tej pory podłączone mam jedno!!!). Zastanawiałem się nad blosem, ale nie wiem czy sobie da radę z takim motorem - nie mam potwierdzonych przypadków.
To tak w skrócie.
pozdrawiam

_________________
C 126 E 50 1990r
W 203 1,8k 2006r
W 639 2,2 2009r


ex W201 2,0D, ex W124 2,5D,


Na górę
Post: czw lut 17, 2011 9:51 pm 
Offline
Klubowicz
Awatar użytkownika

Rejestracja: czw gru 13, 2007 10:02 am
Posty: 449
Lokalizacja: Gdynia
Ja wypowiem się jedynie jako tzw. dziwkarz-teoretyk, bo tyle wiem co przeczytałem.
Do K-Jeta nie da się założyć gazu i koniec, chyba że z góry liczy się rozdzielacz na straty (praca na sucho).
Do KE-Jeta z tego co czytałem najlepsza III-gen, czyli wtryski plus obowiązkowo Stop-KE, żeby rozdzielacz nie pracował na sucho.
IMHO każdy inny system w tym systemie zasilania albo prędzej czy później strzeli albo tak jak u Yagooda wymaga bezustannej opieki, co tak jakby mija się z celem.


Na górę
Post: czw lut 17, 2011 11:09 pm 
Offline
swój chłop
Awatar użytkownika

Rejestracja: czw kwie 03, 2008 8:34 am
Posty: 181
Lokalizacja: 3citi
Marek z tą bezustanną opieka to przesadziłeś. Po prostu trzeba dbac o swoje cacko, to wszystko.
Ja korzystam z auta przez wiekszośc roku i trochę nim jeżdżę. Owszem z jednym się zgodzę: tego typu auto najlepiej jakby było używane sporadycznie, ale co ja poradze na to, że jest taki fantastycznie wygodny i wogóle, że ciężko z niego wysiąśc. Ot tyle.....

_________________
C 126 E 50 1990r
W 203 1,8k 2006r
W 639 2,2 2009r


ex W201 2,0D, ex W124 2,5D,


Na górę
Post: pt lut 18, 2011 10:58 am 
Offline
wiarus senior

Rejestracja: sob lis 20, 2004 6:02 pm
Posty: 1919
Numer GG: 12453483
Lokalizacja: Warszawskie Jelonki
Kupiłem teraz 300CE z instalacją II generacji.
Zero problemów.
Co prawda od razu wymieniłem układ zapłonowy na nowy, cewka-kopułka-palec-przewody i świece.
Za całość (wszystko Beru i Bosch 745 pln-Dzięki Bruno ;) )
Na trasie pali ok.11-12l/100km LPG
Kuchenka nad klapą.
To już trzeci zagazowany mercedes i z żadnym nie było problemów.
Po prostu trzeba dbać o wysokie napięcie i raz na dwa miesiące jeżdżę na analizator spalin do gazowników (20pln)
Ja tam sobie LPG chwalę.


Na górę
Post: pt lut 18, 2011 2:44 pm 
Offline
weteran
Awatar użytkownika

Rejestracja: pt mar 06, 2009 8:03 pm
Posty: 2213
Lokalizacja: Wielkopolska (Zduny)
12 litrów gazu ? jakie prędkości ? ja to myślałem że z 18 najmniej będzie taki smok palić, chyba trzeba będzie poszukać auta nie toczydła jakim jest peugeot.

_________________
Tatowóz: w163 2,7CDI
Moje:2xw115,w114 230.6, 5xw108 w186 300C A124
Sprzedam!! :
w108 280SE 3.5 manual oraz masa części do 108


Na górę
Post: pt lut 18, 2011 3:36 pm 
Offline
wiarus senior

Rejestracja: sob lis 20, 2004 6:02 pm
Posty: 1919
Numer GG: 12453483
Lokalizacja: Warszawskie Jelonki
Jest teraz ślisko i nie przekraczam 100-120 km/h.
Codziennie 30km trasy i 10 km miasta.
Też myślałem że więcej spali.
Ale po samym mieście pewnie z 18 l by wciągnął.


Na górę
Post: pt lut 18, 2011 7:02 pm 
Offline
swój chłop
Awatar użytkownika

Rejestracja: czw sty 27, 2011 8:35 pm
Posty: 142
Nie jestem w stanie zrozumieć ludzi, którzy wala gaz do W126, ten samochód miał być jest i będzie zawsze samochodem DROGIM i PRESTIŻOWYM. Instalacja gazowa ma z tym nie wiele wspólnego. GAZOWANIU bogu ducha winnych Mercedesów mówię stanowcze NIE.

_________________
OLDTIMERY.COM Portal Miłośników Pojazdów Zabytkowych


Na górę
Post: pt lut 18, 2011 7:07 pm 
Offline
weteran
Awatar użytkownika

Rejestracja: pt mar 06, 2009 8:03 pm
Posty: 2213
Lokalizacja: Wielkopolska (Zduny)
ile km rocznie robisz swoim w126 ?

_________________
Tatowóz: w163 2,7CDI
Moje:2xw115,w114 230.6, 5xw108 w186 300C A124
Sprzedam!! :
w108 280SE 3.5 manual oraz masa części do 108


Na górę
Wyświetl posty nie starsze niż:  Sortuj wg  
Nowy temat  Odpowiedz w temacie  [ Posty: 42 ]  Przejdź na stronę Poprzednia 1 2 3 Następna

Strefa czasowa UTC+01:00


Kto jest online

Użytkownicy przeglądający to forum: Obecnie na forum nie ma żadnego zarejestrowanego użytkownika i 3 gości


Nie możesz tworzyć nowych tematów
Nie możesz odpowiadać w tematach
Nie możesz zmieniać swoich postów
Nie możesz usuwać swoich postów
Nie możesz dodawać załączników

Przejdź do:  
Technologię dostarcza phpBB® Forum Software © phpBB Limited
Polski pakiet językowy dostarcza phpBB.pl